Volume 4: Transportation
This volume outlines transportation standards which include design and implementation of roads, trails, sidewalks, bicycle lanes and any other transportation elements.
On this page:
This document may be updated on an annual basis or at the discretion of the Director of Engineering Services.
1.0 Purpose
This Volume of the City of Waterloo Comprehensive Engineering and Landscape Manual, Volume 4: Transportation, is intended to provide the user with the general expectations of projects relating to transportation elements in the City of Waterloo. This includes the design and implementation of roads, trails, pathways, sidewalks and other transportation elements.
Deviation from the standards within will be expected on projects where matching existing conditions are required. These standards outline the City’s minimum expectations, and any deviation will require specific review and approval by the City Project Manager before implementation of a project.
2.0 Roadwork
2.1 Geometric design
All roadwork including asphalt, concrete curbs, granular, base, subbase, subgrade preparation and boulevard requirements shall be completed to OPS and in accordance with the following Municipal specifications (Table V4-1):
Table V4-1: Geometric parameters for urban roads
| Road classification | local | collector | arterial |
|---|---|---|---|
| Right-of-way (m) | 16 - 18 | 20 to 26 | 30 to 35 |
| Design speed (km/h) | 30 - 34 | 30 - 50 | 50 |
| Design safe stopping sight distance (m) | 45 | 45 - 65 | 65 |
| Minimum grade (%) | 0.5 | 0.5 | 0.5 |
| Maximum grade (%) | 5.0 | 5.0 | 5.0 |
| Maximum grade for through roads at intersections (%) | 3.5 | 3.0 | 3.0 |
| Intersections angle (degrees) | 90 | 90 | 90 |
| Minimum tangent length at intersection (m) | 30 | 60 | 60 |
| Minimum visibility on crests (K) | 7 | 11 | 17 |
| Boulevard width (m) | 4.0 to 4.5** | 4.3 to 5.3 | 5.7 |
**A min. boulevard width of 4.5 m is required to accommodate a 1.8 m wide sidewalk and underground hydro vaults/transformers, including their grounding grid. Coordination with Enova Power Corp. is required for all new hydro installations.
- City streets must be designed as per Transportation Master Plan.
- See Volume 5 for more grading information.
- Vertical curves are required where the road grade change is greater than 1.0 %.
- A negative grade (a slope downward from the edge of the pavement) of 1% to 2% should be created at intersections for a minimum distance of 5 meters on all road profiles where internal streets intersect with collectors and through roads, if feasible. Generally, only single catch basins will be required at these low points.
- Where the crown of the intersecting through road is maintained, crossfall of the through road is to be limited to 1% in the intersection. Consultant to prepare a detailed pavement grading plan to ensure drainage along curb returns.
- Interim grading of road allowances must not interfere with surface drainage.
2.1.1 Subdivision
- A 2.0 m easement for Municipal and Enbridge Gas purposes is required along both sides of all road allowances within the limits of the subdivision
- Maximum road profile grade of 5%, except where minimal grading is required to protect environmentally sensitive features, i.e., woodlots, wetlands, aquifers, etc.
2.1.2 Capital projects
- Existing right-of-way widths may differ from the values presented in the table. The proposed road cross-section and typical grading shall be modified to best suit the existing conditions. The proposed cross-section is to meet the objectives of the City’s applicable policies and master plans and have the approval of the City’s Project Manager.
- Minimum and maximum slopes may be exceeded where applying the standard minimum and maximum slopes would cause excessive impacts to existing features or property. Exceedances of these parameters require written approval from the City’s Project Manager.
2.2 Turning circles
Turning circles refers to a circular termination of a dead-end roadway. The design of such treatments shall ensure positive drainage of surface run-off within the right-of-way and to ensure expected operations and maintenance vehicles can drive around the road to reverse travel direction without any reversing. The following minimum standards apply:
- Consultant to prepare a detailed pavement grading plan to ensure drainage along edge of pavement
- Temporary turning circles are required where the road is to continue in the future
- Temporary turning circles must be the same radius as permanent turning circles to accommodate garbage trucks and snowplows
- Minimum pavement radius: 14.0 m
- Property line radius: 18.0 m
2.3 Roundabouts
For design considerations of roundabouts, traffic circles and other similar intersection designs, as approved by Transportation Services, see Transportation Association of Canada’s Geometric Design Guide for Canadian Roads Chapter 9 – Intersections, Manual of Uniform Traffic Control Devices for Canada, and their Canadian Roundabout Design Guide, as amended in the Region of Waterloo’s Canadian Roundabouts Design Guide Design Exceptions.
2.4 Traffic calming measures
Shall be reviewed and designed per Transportation Association of Canada (TAC) – Canadian Guide to Traffic Calming, February 2018 or subsequent updates or alternate as approved by Transportation Services.
2.5 Cul-de-sacs
- Minimum road width around bulb: 8.0m
- It is the designing engineer’s responsibility to ensure adequate radius is provided for fire and winter maintenance vehicles
- Minimum radius for a snowplow is 14m along the outer edge of pavement
- Edge of pavement radius around island: 6.0m
- Minimum slope of gutters: 1.0%
- Curb and gutters (OPSD 600.040) to be used on island perimeter
- Where city stormwater management facilities such as rain gardens or infiltration galleries are not implemented, the center island shall be finished with sod. A City tree may be approved for planting by City Forestry. No other landscaping or utility infrastructure is permitted without written approval from Transportation Services.
For information on cul-de-sac infiltration design see Volume 6 and for planting design see Volume 7.
2.6 Pavement design
- All roads are to be asphalt paved over granular base, in accordance with Table V4-2: Minimum Pavement Design below
- All hot mix asphalt work shall be completed in conformance with OPSS.MUNI 310
- A geotechnical consultant with experience in pavement design is required to confirm the minimum design based on results of local soil conditions
- All field tests must be conducted by a recognized Soils Laboratory, and certified by a Professional Engineer
- Official reports of such tests must be submitted to the city within 5 business days of the test being completed
- Base course shall be HL8, surface course shall be HL3. Substitutions must be reviewed and approved by the City’s Project Manager
- Any material substitutions require a letter from the Geotechnical Consultant
Table V4-2: Minimum pavement design requirements1
| Road classification | Local | Collector | Arterial |
|---|---|---|---|
| HL3 asphalt (mm) | 40 | 40 | 40 |
| HL8 asphalt (mm) | 60 (or 902) | 60 (or 902) | 100 |
| Granular 'A' (mm) | 150 | 150 | 150 |
| Granular 'B' (mm) | 400 | 500 | 600 |
1Note: Design requirements shall be the most stringent of the values provided in this table, or as recommended by a geotechnical engineer following a geotechnical investigation.
2Note: During staged subdivision construction, roads must be constructed with 90 mm base course followed by 40 mm surface course.
2.6.1 Reclaimed asphalt pavement
The City of Waterloo permits the use of RAP on roads currently or intended to be owned by the city. RAP use shall be according to the standard content specifications in OPSS.MUNI 1003, 1010 and 1150 for granular materials and asphalt mix. The increased RAP proportions in OPSS.MUNI 1150-D are not permitted. Process control sampling and testing of RAP shall be specified in the contract documents.
2.6.2 Timing window for road work
There shall be no planned asphalt or sidewalk work within the public ROW prior to April 15th or after November 30th unless specifically approved by the following:
- The Director of Transportation Services where the work is in an assumed/live ROW where a road occupancy permit is required, or
- The Director of Engineering Services where the work is in an un-assumed ROW where a road occupancy permit is not required, e.g., new subdivision ROW.
2.7 Curb and gutter
- All new roads are to be constructed with concrete barrier curb and standard gutter (OPSD 600.040)
- Curb depressions are required at each driveway apron, intersection, pedestrian crossing and park/open space entrance to accommodate AODA requirements and access
- Minimum curb grade is 0.5 % except on cul-de-sac bulbs and outside road elbows where the grade is to be 0.75 %
- One-stage curb and gutter construction is preferred
- For depressed curb, refer to Standard Drawings
2.7.1 Capital
- Other curb types may be used to solve specific constraints or issues. Alternative curb types on city roads must be approved by the City’s Project Manager.
2.8 Driveways and driveway ramps
- A hard surface driveway ramp is required between the curb depression and the sidewalk or property line at each lot to suit the garage location and width, as permitted by the zoning bylaw
- New driveway ramp installations not associated with a plan of subdivision require a Road Occupancy Permit to be obtained from Transportation Services to complete the work within the City right-of-way.
- New driveway ramp installations on regional roads require an access permit to be obtained from the Region of Waterloo and are required to meet the Regional Road Access Policy.
- Driveways shall conform to the current City of Waterloo Zoning Bylaws
- Spacing and configuration must comply with the TAC Geometric Design Manual
- The preferred slope of driveway ramp shall be between 2.0 % and 8.0 %.
- Site specific designs may be required for driveway entrances related to industrial and commercial properties.
- Hydro poles and other street furniture shall offset driveway entrance including apron radius by 1.2 m
- See Standard Drawings for more information.
2.8.1 Capital
The City's standard is to restore driveway ramps with concrete, with some exceptions noted below:
- Standard concrete ramps shall be 150 mm thick concrete (32MPa at 28 days) with a broom finish and tooled edges on a 150 mm thick granular A base compacted to 100% SPMDD
- Commercial and industrial driveways shall be 200mm thick concrete (32MPa at 28 days) with a broom finish and tooled edges on a 150mm thick granular A base compacted to 100% SPMDD.
- Where the pre-construction driveway ramp was an atypical material, colour or style, the apron shall be restored to pre-construction conditions.
- Driveways without ramps (i.e., no sidewalk) shall be restored with the same material/colour/finish as the existing driveway
- Existing driveways shall be restored with the same material/colour/finish from back of sidewalk (or back of curb where no sidewalk exists, as noted above) to extent of driveway cut.
- Driveway cuts shall be made such that the cut is parallel and square with the road, no angled cuts are permitted
- Where the existing driveway is concrete, the driveway shall be cut and restored up to the nearest joint beyond the limits of work.
2.9 Underground parking and exterior driveway ramps
3.0 Sidewalks and boulevards
3.1 Sidewalk
- Comply with the design requirements and standards set out by the City of Waterloo Accessibility Standards and AODA, Act 2012, and Transportation Association of Canada (TAC) Geometric Design Guide for Canadian Roads, Chapter 6, Pedestrian Integrated Design, June 2017 (or subsequent updates)
- See Standard Drawings for more information.
- Comply with the Sidewalk Policy (PW-002)
- Sites abutting a Regional Road that are proposing new sidewalks and curbs must supply a Regional letter of approval for location and elevation of new sidewalk or curb
- Sidewalks shall be constructed as per OPSD 310.010 and 310.020
- Sidewalk and curbs will be located at a consistent offset as outlined in the applicable standard road allowance
- Sidewalks are to extend through driveway entrances. Sidewalks are to be placed on Granular ‘A’ compacted to 100% S.P.D.
- Levelling course of Granular ‘A’ is to be used to correct sub grade irregularities
- Standard depth of concrete sidewalk across single residential driveways: 150 mm
- Standard depth of concrete sidewalk across all other driveway entrances: 200 mm
- Minimum sidewalk width: 1.8m. Where 1.8m cannot be achieved, the AODA minimum width of 1.5m shall apply.
- Minimum sidewalk width in Uptown: 1.8 m
- Minimum sidewalk width along the frontage of educational institutions shall be 2.1m or per the current version of PW-002
- Minimum sidewalk width adjacent to parking lot is 1.8 m (exclusive of the width of the curb)
- Minimum setback for sidewalks from property line: 0.3 m
- Maximum cross slope: 5.0 %, preferred cross slope: 2.0 %
- Maximum longitudinal gradient (running slope): 5.0% or slope of adjacent roadway
- Sidewalks are required to be designed and built such that the sidewalk has positive drainage along the entire length of the sidewalk. Surface run-off is to be directed to the adjacent road along a path where at no point is the slope is less than 2%.
- Isolation (expansion) joints shall be constructed at a maximum spacing of 10m. Control joints shall be constructed at a maximum spacing of 1.5 m.
- Multi-residential, institutional, industrial, and commercial developments that include driveway entrances from a regional road to be as per RMOW Standard Drawing
- Crossfall of sidewalk cannot be compromised by driveway ramps. AODA requires consistent crossfall of sidewalks; where required sidewalk may be lowered thru driveway, with longitudinal ramping at the edges of the driveway. Wheelchairs cannot manage compound slopes. Drainage from sidewalk to road must be maintained.
- Pedestrian islands should be designed in accordance with OTM book 15 (Pedestrian Crossing Treatments) and OTM book 18 (Cyclist facilities).
3.1.1 Site plan
- For site plans, the proposed sidewalks and curbs fronting the development are to be installed by the Developer’s contractor at the Developer’s expense.
3.1.2 Subdivision
- For subdivisions, the proposed sidewalks and curbs fronting the development are to be installed by the Developer’s forces.
3.1.3. Capital
- The best effort shall be made to install the new or replacement sidewalk and curbs with a consistent offset as outlined in the applicable standard road allowance. Deviations around existing features to be kept such as mature trees, utility pedestals, pad mounted transformers etc. Shall be reviewed on a case-by-case basis.
3.2 Grey banding
Coloured impressed concrete may be utilized in certain locations based on needs for safety, snow storage or architectural finishing.
3.2.1 Grey banding narrow sections of boulevard
When the proposed road cross-section is too narrow to allow for boulevards wide enough to support grass, gray banding is to be used to fill in the gap between the back of curb and the front of the sidewalk. Generally, this width is 0.9 m but is ultimately up to the City Project Manager’s discretion. In these locations the following specifications are to be used for the surface treatment:
- “Grey” coloured, impressed concrete shall have a pigment to Portland cement ratio of 5%.
- All coloured impressed concrete is to be sealed within 7 days after placement with an acrylic sealer with a slip-resistant additive.
- The concrete is to be power-washed and adequately dried prior to placement of the concrete sealer.
- The stamping pattern consists of a random field stone finish or as noted on the contract drawings.
Example locations where this has been applied include: Peppler Street Reconstruction (Young to Elgin); Alexandra Avenue Reconstruction (at Empire and Alexandra intersection).
3.2.2 Grey banding in the Uptown core
When the project is within the Uptown Core and the sidewalk is to extend to the back of curb, a narrow strip of darkened concrete is to be included to improved visual differentiation of the edge of the road and to match the Uptown architectural design. In certain situations, within the Uptown Core decorative grey banding may also be perpendicular to the sidewalk at the City’s discretion. In these locations the following specifications are to be used for the surface treatment:
- “Grey” coloured, impressed concrete shall have a pigment to Portland cement ratio of 5%.
- All coloured impressed concrete is to be sealed within 7 days after placement with an acrylic sealer with a slip-resistant additive.
- The concrete is to be power-washed and adequately dried prior to placement of the concrete sealer.
- The concrete strip is to be a minimum of 0.3 m wide.
- The surface is to be broom finished similar to the adjacent sidewalk, with the brush strokes perpendicular to the adjacent curb/sidewalk.
Example locations where this has been applied include Willis Way between King and Caroline; King Street from William St. to the rail tracks south of Erb St.
3.2.3 Tactile warning strip
In specific circumstances where it is cost prohibitive or otherwise an issue to install tactile warning strips along the edge of a road where pedestrians are encouraged to cross the road (e.g., on a woonerf style street), a concrete tactile strip of the following specifications can be included:
- “Grey” coloured, stamped concrete shall be coloured with Sika’s Scofield Integral Concrete Color Charcoal C-24, or approved equivalent of similar grey colour.
- All coloured impressed concrete is to be sealed within 7 days after placement with an acrylic sealer with a slip-resistant additive.
- The concrete is to be power-washed and adequately dried prior to placement of the concrete sealer.
- The concrete strip is to be minimum 0.3m wide.
- The surface is to be stamped with a fabricated metal form to provide 25mm wide grooves 12-15mm deep.
- The top of the grooves is to be flush with adjacent grades with a smooth transition from adjacent paving at edges.
- The grooves are to be aligned perpendicular to the roadway.
Example locations where this has been applied include Larch Street (woonerf).
3.3 Boulevard landscaping
Refer to:
- Appendix V7-A for site plan boulevard landscape requirements
- Volume 7 for landscape requirements
- Appendix V7-C for preferred street tree species
Section 5.0 Boulevards of the City of Waterloo’s Highway Occupancy Bylaw shall apply.
4.0 Active transportation
4.1 Bicycle facilities
- Bicycle facilities are required on roadways as identified in the Transportation Master Plan.
- See Standard Drawings for more information.
- Appropriate bicycle facility type shall be planned and designed to Ontario Traffic Manual (OTM) Book 18 Cycling facilities, August 2021 or subsequent updates; and Transportation Association of Canada (TAC) Geometric Design Guide for Canadian Roads, Chapter 5, Bicycle Integrated Design, June 2017 (or subsequent updates)
- Bicycle facilities within the municipal right-of-way need to be submitted to Transportation Services for review and approval
4.2 Bike parking
4.2.1 Design criteria
- Refer to the City of Waterloo Zoning Bylaw 2018-050
- Refer to the City of Waterloo Urban Design Manual
- Provide outdoor bike storage for all projects
- Bike parking areas shall not exceed 5% in cross slope (2% slope is preferred)
- Location:
- Parking area should be easy to access
- Plan space according to potential maximum capacity
- Cluster bike racks near building entrances and distribute across large sites
- Encourage sheltered bike storage areas in central locations near primary or secondary building entrances
- Encourage indoor bike storage for higher density residential projects and employment uses
- Outdoor bike parking must be located on a hard surface such as a concrete pad or unit paving (locations with sod or mulch surfacing are not appropriate)
- Security:
- parking area should be well lit and free of hiding places
- Rack:
- The City’s preference is for the inverted “U” style bike rack.
- Racks or lockers should be made from high quality materials such as galvanized steel and industrial grade
- Racks should have a smooth outer surface that will not damage or scratch bike frames
- All racks should be surface mounted in a secure fashion
- Provide the remainder of the bike parking internal to the building or internal to the site for long-term parking. See the city’s Urban Design Manual for appropriate spacing and offsets.
- See Standard Drawings for Bike Rack design
- Spacing:
- Provide space between bikes to facilitate parking and locking per the City of Waterloo’s Urban Design Manual
- Users should be able to comfortably maneuver around their bike to lock and unlock it
4.3. Trails and pathways
Refer to Volume 7 for design criteria.
5.0 Signage
Details are provided below for all signs to be installed within a City of Waterloo right of way, unless an alternative is approved by Transportation Services:
- Hot-dipped galvanized steel U-Channel posts
- 12’ length
- Surface mounting signs is not permitted
- 0.9m minimum bury depth
- When posts are installed in hardscape, a 100mm PVC frost collar shall be used around the signpost
- Contractors are expected to install the signposts only within the City of Waterloo. City Transportation crews will supply and install the signs. Minimum two (2) weeks’ notice is required from the City’s Transportation Services division for notification of the post installation date to ensure signs can be installed in a timely manner.
6.0 Lighting
6.1 Roadway lighting standards
This section of the CELM will outline street light guidelines as it relates to the road right-of-way, trails, multi-use paths (MUPs) and multi-use trails (MUTs). The overall goal of this document is to ensure there is consistent and sufficient lighting along designated active and vehicular infrastructure.
Within the City of Waterloo there are different types or styles of streetlights. The most common type is the concrete pole with cobra-head luminaire, also known as the “standard” type. All other streetlights fall under the “decorative” street light type or pedestrian-scale lighting. As per the pending street light policy, decorative lighting is reserved to the uptown and other designated neighbourhood areas within the city.
All new developments and street/pedestrian light replacement must follow the information set out below.
All street and pedestrian lighting is to be designed by a qualified electrical consulting engineer and in accordance with all applicable regulating authorities and meet ESA and ANSI/IES RP-8-21 as amended.
All installation of street or pedestrian lights must be facilitated through the local hydro company or an approved third-party contractor.
6.1.1 Standard street lighting
Below is the approved standard street lighting equipment for the City of Waterloo.
- Cobra-head luminaire, Leotek Electronics, GreenCobra part numbers: GCJ0-15HMV-WW-2R-GY-700-PCR7-CR, GCJ1-MV-WW-2R-GY-580-PCR7-CR or approved equivalent;
- Round, concrete StressCrete part number: E32.5-BPR-G-MOO S/F 120, or approved equivalent; and,
- Street poles shall include future connections for the 5G network infrastructure/ capabilities.
6.1.2 New developments
It is the City’s preference that standard streetlights are utilized for all new subdivision plans or road reconstruction projects. Developers shall provide the city with the street light design and layout through the first submission in the plan of subdivision process. Developers have the ability to install decorative streetlights outside of the approved inventory within this document, however, they must obtain approval from both Engineering and Transportation Services.
The developer will be responsible for 100% of capital costs for selected pole types, luminaire controls and all other light costs including engineering design and extra poles for closer spacing. The developer is responsible for purchasing, shipping and storing all street light equipment on site. The local hydro company and the City are not responsible for shipping or storing any equipment, unless agreements have been made. In the case of a special agreement, a 10% shipment invoice will be applied.
Prior to road assumption, the developer will fund 100% of all maintenance costs as per Ontario Minimum Maintenance Standards Regulation 239/02. Maintenance will also include theft, weather, vandalism, damage and a full re-lamp and cleaning of the streetlights within 90 days of assumption. If the local hydro company is contracted for any maintenance, all costs will be charged to the developer based on current material and labour costs. All emergency work will be billed back to the developer, prior to road assumption. Developers are responsible for all electricity costs from the date the streetlights are energized until the City assumes the road.
Developers are also required to pay a one-time fee for future maintenance or replacement of lighting. This fee will be paid to the City of Waterloo prior to assuming the road. This amount will be calculated at 10% of the development lighting cost (i.e., Poles, fixtures and required lighting infrastructure) or a minimum of $30,000.
Developers are to provide cash-in-lieu for street light relocation where the city has required road widenings.
The City will be responsible for 100% of the maintenance costs for street lighting within the right-of-way once all conditions are cleared and the road has been assumed.
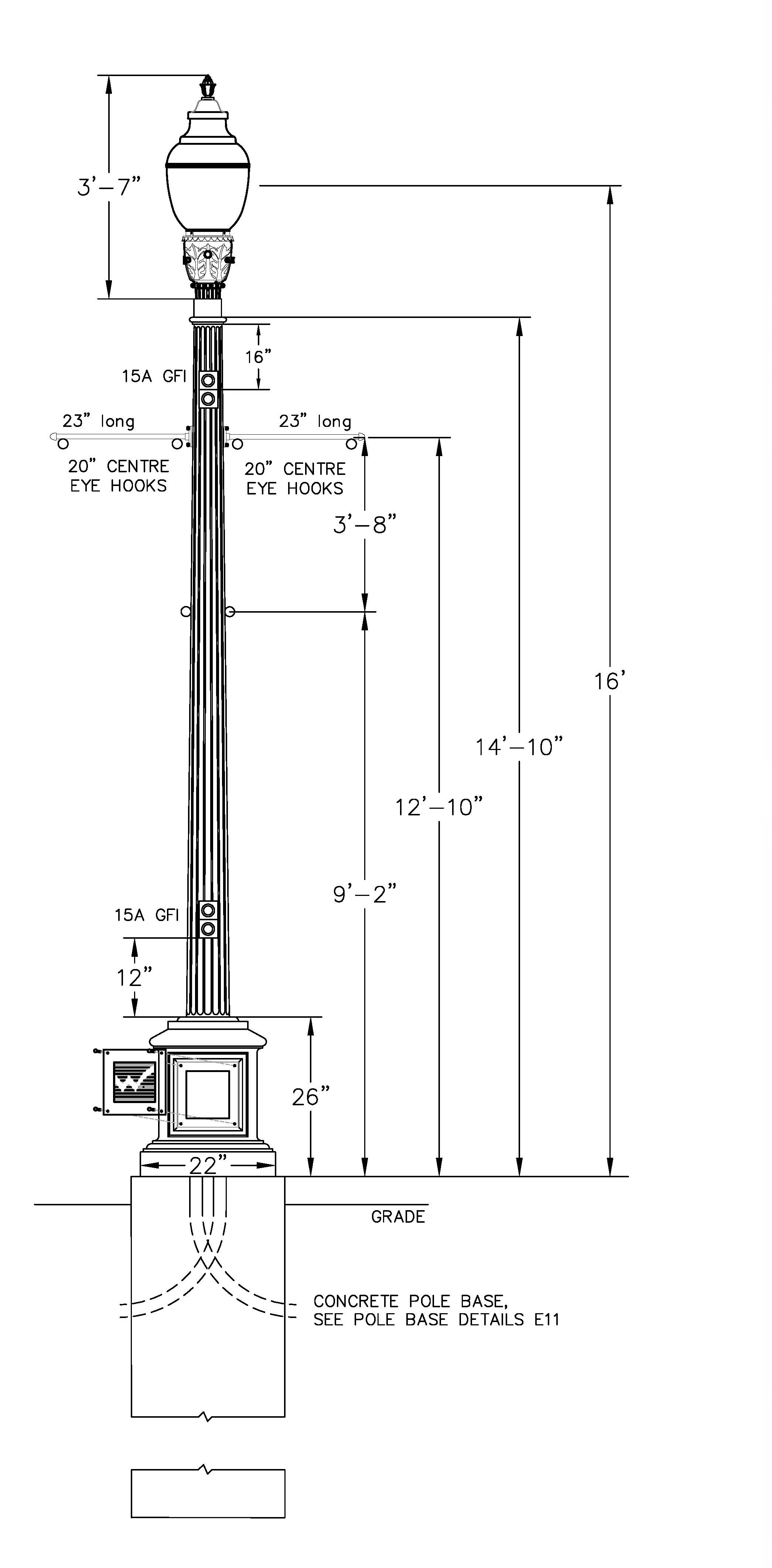
6.1.3 Decorative street lighting
It is the intent of the City to standardize lighting styles. Decorative poles and fixtures are reserved for The Uptown, Heritage areas and designated neighbourhood areas, unless otherwise approved by the Directors of Engineering and Transportation Services. The types of approved decorative lighting are in section 2.1 of this document.
Decorative street lighting is to be designed by a qualified electrical consulting engineer and in accordance with all applicable regulating authorities and meet ESA and ANSI/IES RP-8-21 as amended. The developer must provide a photometric plan to understand the layout in the development. Light standard specifications should be provided within this plan.
Where a full street light system replacement in an established residential area is required and the existing lighting is not within these guidelines, the city will replace it with our standard streetlights. If in a designated neighbourhood, the city will replace with a similar style light fixture and pole.
The specifications for approved decorative street lighting for the City of Waterloo include:
Table V4-3: Washington full cut off specifications
Luminaire
| Style | Washington full cut off |
|---|---|
| Optical system | Flat array |
| Lighting classification | Type II, Type III, Type IV, Type V |
| Wattage | LED 40W to LED 140W (based on road classification) |
| Colour temperature | 2700 - 3000 Kelvin |
| Dimming | Control-ready wired for wireless node dimming |
| Input voltage | MVLOT, 120 Volts AC |
| Ornamental accessories | None |
| Paint colour | Black |
Pole
| Type | KT14 Talisman, KT13 Talisman (for twin arm), Victorian direct buried concrete pole with 3 HHB's |
|---|---|
| Finish | E10 midnight lace etched finish |
| Colour | Midnight Lace E-10 |
Bracket
| Twin arms | KA65- Landsing Arm, Northbrook NP28 |
|---|---|
| Single arms | K69-S, Annapolic ACA/1 |
Control Node – one control node required per fixture
| Network compatibility | Itron network |
|---|---|
| CMS compatibility | Street light vision |
Table V4-4: coach lighting specifications
Luminaire
| Style | Coach |
|---|---|
| Optical system | Flat array |
| Lighting classification | Type III |
| Wattage | LED 40W to LED 140W (based on road classification) |
| Colour temperature | 2700 - 3000 Kelvin |
| Dimming | Control-ready wired for wireless node dimming |
| Input voltage | MVLOT, 120 Volts AC |
| Ornamental accessories | Scroll arms |
| Paint colour | Black |
Single luminaire, Type III distribution c/w lamp, photocell, Victorian scroll arm and decorate concrete pole, direct buried
Double luminaire, Type II distribution c/w lamp, photocell, Victorian scroll arms and decorative concrete pole, direct buried.
Pole
| Type | Octagonal concrete pole |
|---|---|
| Finish | Black |
| Colour | Black |
Washington full cut off

Coach lighting

6.1.3.1 Illumination requirements for decorative and standard lighting
Illumination requirements are provided in Tables V4-5 and V4-6 below.
Table V4-5: Recommended values from ANSI/ESNA RP-8-21
| Street Classification | Pedestrian Activity Classification | Average Luminance L | Average Uniformity | Maximum Uniformity | Maximum Veiling Luminance Ratio |
|---|---|---|---|---|---|
| Major | High | 1.2 | 3.0 | 5.0 | 0.3 |
| Medium | 0.9 | 3.0 | 5.0 | 0.3 | |
| Low | 0.6 | 3.5 | 6.0 | 0.3 |
| Street Classification | Pedestrian Activity Classification | Average Luminance L | Average Uniforminty | Maximum Uniformity | Maximum Veiling Luminance Ratio |
|---|---|---|---|---|---|
| Collector | High | 0.8 | 3.0 | 5.0 | 0.4 |
| Medium | 0.6 | 3.5 | 6.0 | 0.4 | |
| Low | 0.4 | 4.0 | 8.0 | 0.4 |
| Street Classification | Pedestrian Activity Classification | Average Luminance L | Average Uniforminty | Maximum Uniformity | Maximum Veiling Luminance Ratio |
|---|---|---|---|---|---|
| Local | High | 0.6 | 6.0 | 10.0 | 0.4 |
| Medium | 0.5 | 6.0 | 10.0 | 0.4 | |
| Low | 0.3 | 6.0 | 10.0 | 0.4 |
Table V4-6: Illuminance for intersections
Pedestrian Activity Level Classification (PALC)
| Functional classification | PALC High |
PALC Medium |
PALC Low |
Eavg/Emin |
|---|---|---|---|---|
| Major to Major | 34/3.2 | 26/2.4 | 18/1.7 | 3.0 |
| Major to Collector | 29/2.7 | 15/1.4 | 15/1.4 | 3.0 |
| Major to Local | 26/2.4 | 20/1.9 | 13/1.2 | 3.0 |
| Collector to Collector | 24/2.2 | 18/1.7 | 12/1.1 | 4.0 |
| Collector to Local | 21/2.0 | 16/1.5 | 10/0.9 | 4.0 |
| Local to Local | 18/1.7 | 14/1.3 | 8/0.7 | 6.0 |
6.1.4 Photometric drawings and plans
Proposed lighting locations should avoid all tree’s protected root zones (see image below). In scenarios where this is not possible, any excavations within the protected root zone must be completed as per the “Digging Around Trees” section of the Trees and Yards webpage on the City website.

Developers must consider conflicts with driveways, sidewalks, multi-use paths, telecommunication services, utility services and street furniture.
The City requires the following details to be provided:
- Luminaire mechanical and electrical details
- Pole construction and installation details
- Overall layout and dimensional locations of all poles and luminaries within the right-of-way
- Photometric Analysis
- Illumination level must comply with the Region of Waterloo Illumination Guidelines
The City requires the following to be included in drawing submissions:
- Roads, lots and their labels
- Location of all new light standards within the development
- Location of existing light standards surrounding the development and the relation to the proposed walkways
6.1.5 Street light equipment
All equipment must meet the requirements set out in the Electrical Safety Code and be inspected by an Electrical Safety Authority. Information on material and construction specifications may be requested from the City of Waterloo and the local hydro company.
All street light equipment shall be able to function between a temperature range between -40 degrees Celsius and 55 degrees Celsius.
Developers must provide a serial number of each fixture to the City for maintenance and tracking purposes. Third party contractors must show proof of consent from the local hydro company prior to any construction, maintenance or other activities related to streetlights. Only the local hydro company or approved third party companies are able to energize new street lighting.
The local hydro company will be responsible for:
- Obtaining street light equipment from the agreed upon on-site storage area
- Installing poles and fixtures
- Installing underground infrastructure (cables and controls)
- Connecting and energizing street light system
The City of Waterloo is responsible for:
- Inspecting the lighting during and post-construction
- Logging new street light inventory
6.2 Trail and pedestrian lighting standards
Trail lighting is only required on certain trails throughout the City. For projects that include trails, the design consultant is required to confirm with city staff if trail lighting is appropriate for the project.
Trail and Pedestrian lighting should meet the requirements of light trespass, glare and sky glow by using ‘Full Cutoff’ (also commonly referred to as ‘fully shielded’) fixtures. It is recommended to use fixtures that have the “Dark Sky Fixture Seal of Approval” in areas where there may be impacts on wildlife. The central concepts of Crime Prevention through Environmental Design (CPTED) light standards should be used in all pedestrian-scale lighting. Source: 2017 Best Practices Effective Lighting, City of Toronto.
Energy saving techniques should be utilized where possible such as timers, motion sensors and user activated lights. Trail and pedestrian lighting must also follow all regulatory standards as it relates to clearance for other infrastructure, hydro corridors, etc.
The specifications for approved pedestrian and trail lighting for the City of Waterloo include (Table V4-7):
Table V4-7: pedestrian trail lighting specifications
Luminaire
| Style | Single LED luminaire |
|---|---|
| Optical system | Copper street works |
| Lighting classification | Singe head TYPE II distribution UL/ |
| Wattage | 120V to 277V |
| Colour temperature | 3000K |
| Dimming | SL2 - Type II w/ spill control |
| Ornamental accessories | OA/RA1016 = NEMA Photocontrol – Multi-Tap 105-285V |
| Paint colour | Black |
Pole
| Type | Galvanized Steel 4 inch, Square 15 feet tall |
|---|---|
| Finish | |
| Colour | Black |
Bracket
| Single arm | Quick mount for round or square pole |
|---|
Control Node – one control node required per fixture
| Network compatibility | PR7 = NEMA 7-PIN twistlock photocontrol receptacle |
|---|---|
| CMS compatibility |
6.2.1 Approved trail and pedestrian lighting

For photometric drawing and plan requirements along with further light equipment requirements, refer to the Roadway lighting standards section.